Hướng dẫn cài đặt Công tắc màn hình Aqara S1E
Khám phá cách cài đặt và tùy chỉnh công tắc màn hình Aqara S1E – một thiết bị thông minh kết hợp màn hình cảm ứng và ba nút điều khiển. Bạn sẽ biết cách lắp đặt an toàn, kết nối qua ứng dụng Aqara Home và tận dụng tối đa các tính năng hiển thị thông tin trong nhà.

Trước khi lắp đặt màn hình điều khiển

- Yêu cầu chôn đế vuông kích thước 86×86 mm.
- Ngắt nguồn điện trước khi lắp đặt để đảm bảo an toàn.
- Sử dụng sản phẩm trong nhà; tránh đặt ở môi trường ẩm ướt hoặc ngoài trời.
- Đảm bảo điện thoại và thiết bị cần kết nối đều được kết nối vào cùng một mạng Wifi (2,4GHz hoặc 5GHz).
- Khoảng cách lý tưởng từ thiết bị đến bộ phát Wifi nằm trong khoảng 2-6 mét để đảm bảo tín hiệu mạng ổn định.
- Tránh mọi vật cản bằng kim loại giữa thiết bị và bộ phát Wifi cũng như xung quanh thiết bị.
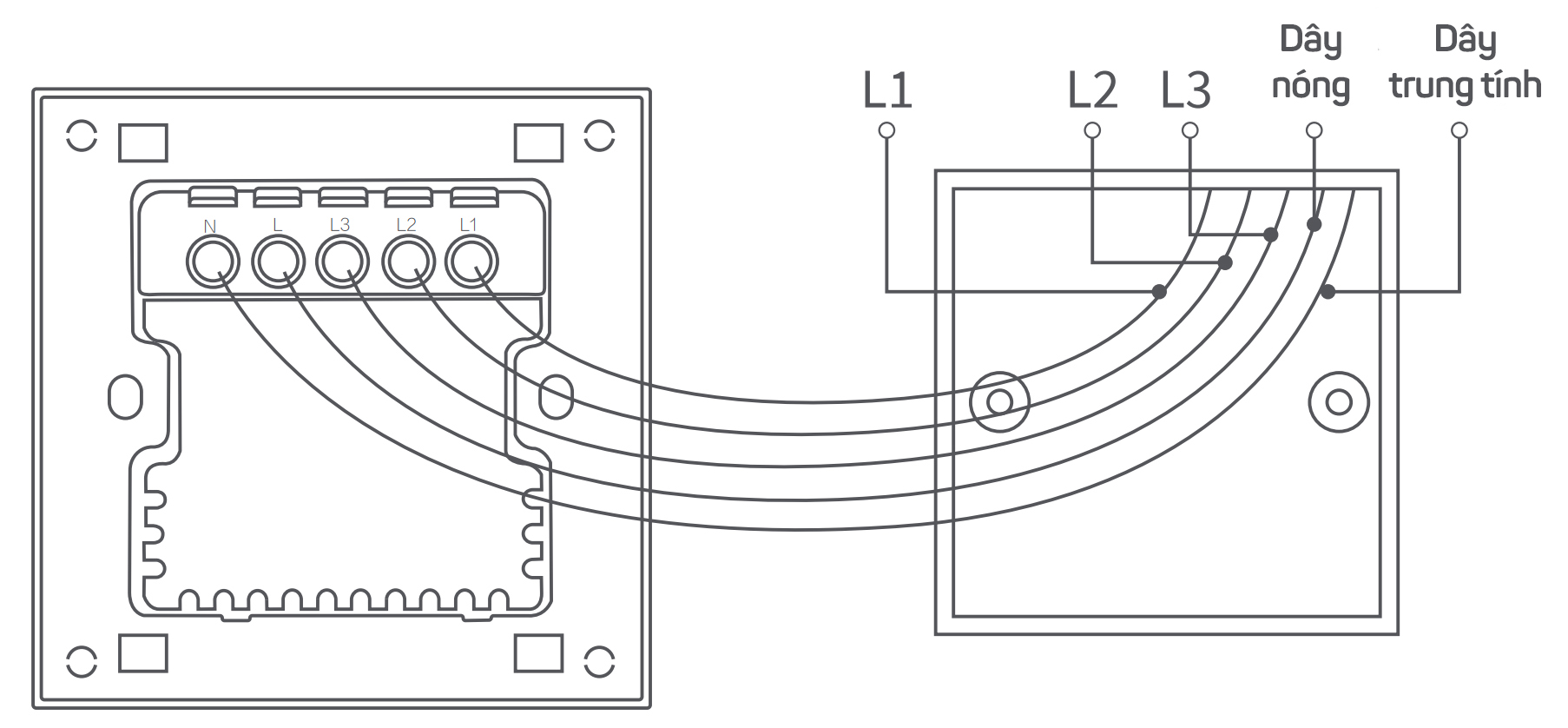
Quá trình lắp đặt Công tắc Màn hình Aqara S1E

- Nới lỏng vít của các cổng N, L ở mặt sau thiết bị.
- Dây lửa đấu với cổng L của màn hình.
- Dây trung tính đấu với cổng N (hệ thống điện có dây nguội).
- Dây lửa (đường nóng/dây L) thường có màu đỏ.
- Dây trung tính (đường mát/dây N) thường có màu xanh/đen/đỏ.
- Đấu dây tải (đèn) với các cổng L1, L2 và L3 tương ứng, sau đó siết chặt lại các vít.
- Bật nguồn và xác nhận màn hình hiển thị bình thường trước khi gắn thiết bị vào tường.
Thêm màn hình Aqara S1E vào ứng dụng Aqara Home

Bước 1: Thêm thiết bị

- Trên ứng dụng Aqara Home, chọn biểu tượng dấu + ở góc trên cùng bên phải màn hình → Add Accessory.
Bước 2: Chọn loại thiết bị

- Kéo xuống mục Switch & Plug và chọn Smart Magic Switch S1E.
Bước 3: Khởi động lại thiết bị

- Trên màn hình thông báo “Please restart the device and confirm it is ready to networking”, nhấn Next Step.
Bước 4: Quét mã QR

- Trên màn hình thiết bị, chọn hệ điều hành Android hoặc iOS phù hợp và quét mã QR Code.
Bước 5: Hoàn tất cài đặt

- Làm theo hướng dẫn trên màn hình để hoàn tất cài đặt.
Tùy chỉnh màn hình Aqara S1E

Bước 1: Chọn theme

- Vào mục Screen configuration → Theme Library.
- Lựa chọn theme mong muốn và nhấn vào Download and use.
Bước 2: Cài đặt bố cục màn hình
- Trong mục My screen, chọn biểu tượng + và nhấn vào bố cục mong muốn.
- Vùng màu đen dành cho các dịch vụ hoặc tiện ích có sẵn trên thiết bị của bạn được tích hợp trong ứng dụng Aqara.
- Vùng màu xám để thêm các loại công tắc, ngữ cảnh, … khác nhau.
Bước 3: Lựa chọn thiết bị cho từng ô vuông
- Chọn vào biểu tượng điện thoại để chọn thiết bị tương ứng.
Tùy chỉnh cài đặt khác màn hình Aqara S1E
- Chọn dấu ba chấm ở góc trên cùng bên phải màn hình để cấu hình chi tiết hơn.
- Thay đổi vị trí phòng, tên và biểu tượng công tắc/đèn.
- Xem thông tin chung: thông tin mạng, phiên bản firmware.
- Trong mục More Settings, điều chỉnh độ hiển thị và các chức năng an ninh:
- Brightness and Display – điều chỉnh độ sáng màn hình.
- Standby Time – điều chỉnh thời gian màn hình chờ.
- Screen Saver – mật khẩu truy cập màn hình.
Tham khảo thêm
- Hướng dẫn cài đặt bộ điều khiển trung tâm Aqara Hub
- Hướng dẫn cài đặt công tắc âm tường thông minh Aqara D1
- Hướng dẫn cài đặt Màn hình Aqara S1 Plus
Kết luận
Với công tắc màn hình Aqara S1E, bạn có thể dễ dàng điều khiển các thiết bị thông minh trong nhà và hiển thị thông tin quan trọng ngay trên màn hình. Hãy tuân thủ các bước an toàn khi lắp đặt và tận dụng các tính năng tùy chỉnh để tạo ra không gian sống thông minh, tiện nghi và an toàn.
Bạn cần tư vấn hoặc muốn xem sản phẩm?
Anninhbaomat.com cung cấp đầy đủ thiết bị Smart Home, camera an ninh và khóa thông minh chính hãng giá tốt nhất.
